Запчасти для
БУ-20-2УШМ
Главный вал 116.07.000.00 (рис. 11)

Главный вал 116.07.000.00 смонтирован на трех опорах; каждая опора состоит из двух конических подшипников, установ ленных внутри сквозных корпусов. Корпуса подшипников закреплены болтами на раме станка. Передача движения от главного вала к шестерням и включение в работу соответствующего механизма производятся фрикционными муфтами.

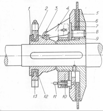
Фрикционная муфта главного станка БУ-20-2М: 1- бугель; 2 - хомут верх ний; 3 - ролик; 4 - кулачок; 5 - основной диск; 6 - полукольцо с наклепанным «ферродо» , 7 - прижимной диск; 8 - палец; 9 - пружина; 10 -регулятор; фиксатор; 12 -вкладыш; 13 - хомут нижний Все муфты станка однотипны (рис. 12). На главном валу шпонкой закреплен основной диск; на него свободно надет другой, прижимной, а между ними расположены два полукольца с наклепанными по обеим сторонам фрикционами (ферродо). Оба диска связаны между собой четырьмя пальцами и распираются надетыми на них пружинами, поэтому в свободном состоянии они не соприкасаются с фрикционами и не передают им вращения. С включением муфты диски сжимают полукольца и силой трения приводят их в движение, которое передается шестерням.
Сжатие дисков происходит в муфте за счет кулачков, посредством конуса бугеля. Кулачки смонтированы в регуляторе и вращаются на осях, а сам регулятор навернут на основной диск. Одним концом кулачки упираются в торец прижимного диска, а другим (с помощью роликов для уменьшения трения) — в конус бугеля. При перемещении конуса бугеля по направлению к регулятору конусная поверхность его раздвигает кулачки, ко торые, поворачиваясь на осях, подвигают прижимной диск к основному, сжимая между ними фрикционные полукольца. При обратном движении прижимной диск освобождается, и муфта выключается.
Передвижение конуса бугеля по валу происходит при помощи двух хомутов с вкладышами; хомуты установлены в коль цевой выточке и снабжены по наружной поверхности двумя пальцами для перемещения их отводкой.
Усилие сжатия фрикциона во включенном состоянии, так же как и первоначальное положение муфты, регулируется поворотом регулятора на основном диске. Для увеличения силы нажатия регулятор с кулачками поворачивают по часовой стрелке, приближая его к прижимному диску, а для удаления кулачков (когда муфта не выключается) следует повернуть его против часовой стрелки. После регулировки муфты регулятор стопорится от произвольного вращения фиксатором. С этой целью на прижимном диске по окружности просверлены 18 отверстий, а в регуляторе установлен пружинный фиксатор, который после регулировки муфты вводится в ближайшее отверстие.
Крайние муфты, передающие движение ходовому оборудованию, снабжены тормозами. Фланцы их шестерен выполнены в виде дисков, на которые надевается тормозная лента. Действие тормозов сблокировано с механизмом включения муфты.
На главном валу закреплены два шкива. Один из них приводной, соединяется ремнями непосредственно со шкивом электродвигателя. Другой — фрикционный, состоит из ступицы н фланца, между которыми закрепляется резиновый обод. Этот шкив предназначен для привода желоночного барабана.
ООО НПО "РТЦ"
Мы производим и продаем запасные части на буровой станок ударно-канатного бурения БУ-20-2УШМ
Заявки на запасные части принимаем на эл.почту: severzip@mail.ru
Сайт: https://bu20.ru/
Доставка до транспортной компании бесплатно!